• 网站首页
  • 公司简介
  • 产品展示
  • 产品目录
  • 企业动态
  • 联系我们
  • 电子邮局

产品展示

  • 智能润滑
  • 电动润滑泵
  • 手(脚)动润滑泵
  • 加油泵
  • 双线分配器
  • 单线分配器
  • 换向阀、操纵阀及其附件
  • 稀油润滑装置及稀油站
  • 稀油润滑元件
  • 管件部分
  • 油气润滑元件

联系方式

电话:0513-83325673 传真:0513-83119878 手机:13862978163 地址:江苏省启东市汇龙镇中央河中路691号E-mail:13862978163@126.com
 
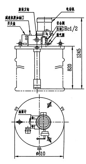
DJB-V70型电动加油泵(3.15MPa)

一、概述

适用于干油集中润滑系统中,向电动润滑泵的贮油器内充填润滑脂。该泵为不带贮油桶型,直接放在200L的油桶上,可以单独操作,与相应的电控装置连接可以实现电动润滑系统的自动补脂。该泵为内藏式柱塞容积泵,采用蜗轮蜗杆减速传动,运转平稳,输出压力高,出口处设置调压安全阀具有过载保护作用。

二、技术参数


型号
公称压力MPa
加油量mL/每次
功率kW
速比
减速箱加油量
重量kg
DJB-V70
3.15
70
0.37
1:25
0.35L
55
使用介质为锥入度265~385(25℃,150g)1/10mm的润滑脂(NLGI0#~2#)。
   
三、型号说明                 


四、外形尺寸

动作说明:

由垂直安装的电机经蜗杆带动蜗轮回转,在蜗轮端面上装有偏心轴,通过曲柄连杆带动柱塞上下往复运动,由活塞内部及管帽内单向阀的作用完成吸压油过程,经输油胶管向外输送。

使用说明:

1、建议按旋向箭头方向接线旋转。
2、使用的润滑脂必须干净、质地均匀,在规定牌号范围内。
3、首次使用前应向减速箱内注入润滑油(N220)至规定油面。
4、加油泵首次启动后,应先打开放气阀,正常出油后关闭。
5、不许在桶内无油脂的情况下空运转。

网站首页 公司简介 产品展示 产品目录 企业动态 联系方式
电话:0513-83325673 传真:0513-83119878  手机:13862978163         智能润滑
地址:江苏省启东市汇龙镇中央河中路691号 邮编:226200  E-mail:13862978163@126.com 
版权所有:南通沃尔驰石化工程有限公司