• 网站首页
  • 公司简介
  • 产品展示
  • 产品目录
  • 企业动态
  • 联系我们
  • 电子邮局

产品展示

  • 智能润滑
  • 电动润滑泵
  • 手(脚)动润滑泵
  • 加油泵
  • 双线分配器
  • 单线分配器
  • 换向阀、操纵阀及其附件
  • 稀油润滑装置及稀油站
  • 稀油润滑元件
  • 管件部分
  • 油气润滑元件

联系方式

电话:0513-83325673 传真:0513-83119878 手机:13862978163 地址:江苏省启东市汇龙镇中央河中路691号E-mail:13862978163@126.com
 
SPL、DPL型网片式油滤器(0.8MPa)
一、使用条件
SPL、DPL型网片式油滤器适用于各种型号的稀油润滑装置的过滤,应用于石油、电力、化工、冶金、建材、轻工等各种工业部门以提高油的清洁度。
网片式油滤器分为SPL双筒系列和DPL 单筒系列、油滤器运行可靠,维修方便,不需要其他动力源,过滤元件为金属丝网制成的滤片,具有强度高,通油能力大,确保过滤精度,便于清洗等特点,SPL双筒系列能在主机运行过程中实现不停机转换和清洗。
二、技术参数
型号
公称通径DN
额定流量m3/h(L/min)
滤片尺寸mm
双筒系列
单筒系列
内径
外径
SPL15
-
15
2(33.4)
20
40
SPL25
DPL25
25
5(83.4)
30
65
SPL32
-
32
8(134)
SPL40
DPL40
40
12(200)
45
90
SPL50
-
50
20(334)
60
125
SPL65
DPL65
65
30(500)
SPL80
DPL80
80
50(834)
70
155
SPL100
-
100
80(1334)
SPL125
-
125
120(2000)
90
175
SPL150
DPL150
150
180(3000)
SPL200
DPL200
200
320(5334)
 1、最高工作温度95℃;
 2、最高工作压力0.8MPa;
 3、滤芯清洗压降0.15MPa;
 4、试验介质粘度为24cSt 的清洁油液,当以额定流量通过油滤器时原始压降不大于0.08MPa。
 
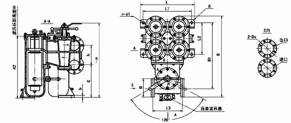
三、外形尺寸
SPL15~SPL40-C(侧置式)
公称通径mm
安装形式
外形尺寸mm
拆卸高度mm
管路连接尺寸mm
管路安装尺寸
基座安装尺寸mm
净重
DN
H
B
L
H1
D
D0
C
h
L3
B1
H2
h1
L1
L2
b
R
n
d1
kg
15
C
328
180
196
260
M30 X 2
22
38
55
88
155
291
88
166
80
12
16
4
12
9.5
20
C
310
207
260
230
M33 2
26
34
65
90
177
258
90
230
100
12
15
4
15
11.5
25
D
315
232
230
270
M39 X 2
34
34
65
90
185
265
90
156
100
12
15
2
16.5
12
C
205
260
177
230
4
16.5
32
C
380
207
260
330
60 X 60
38
34
65
96
175
330
50
230
100
12
15
4
16.5
12
40
C
462
261
314
360
66 X 66
45
43
70
110
224
363
100
274
130
150
20
4
17
22
安装形式;D 为顶挂式C- 为侧置式,压差发讯器为选配。
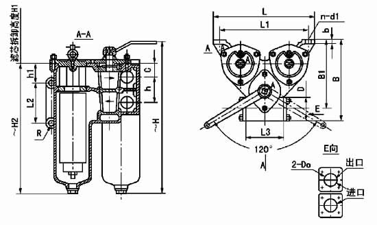
SPL50~SPL80-C(侧置式)              SPL50~SPL80-X(下置式)
公称通径mm
安装形式
外形尺寸mm
拆卸高度mm
管路连接尺寸mm
管路安装尺寸
基座安装尺寸mm
净重
DN
H
B
L
H1
D
D0
C
h
L3
B1
H2
h1
L1
L2
b
R
n
d1
kg
50
X
447
425
410
425
86X86
57
220
90
140
355
422
92
260
210
25
18
4
20
85
C
400
355
412
350
130
65
X
580
453
410
535
100X100
70
365
105
160
375
527
112
260
210
25
28
4
20
120
C
423
425
517
350
150
80
D
780
541
492
660
116X116
89
443
124
190
456
650
350
270
25
20
40
22
165
安装形式X- 为下置式C- 为侧置式 ()内尺寸为侧置式 压差发讯器为选配件 SPL80 提升机构见附图(一)
SPL100~SPL125-X(下置式)
公称通径mm
外形尺寸mm
滤芯拆卸高度mm
管路连接尺寸mm
管路安装尺寸
基座安装尺寸mm
净重
DN
H
B
L
H1
D
D0
C
h
L3
B1
H2
L1
L2
b
R
n
d1
kg
100
765
847
560
660
190
108
3360
200
687
300
640
500
330
20
32
4
22
370
125
850
900
605
760
215
133
385
225
682
340
730
540
270
20
320
4
22
420
法兰标准GB573:压差发讯器为选配件。
SPL150~SPL200-X(下置式)
公称通径mm
外形尺寸mm
滤芯拆卸高度mm
管路连接尺寸mm
管路安装尺寸
基座安装尺寸mm
净重
DN
H
B
L
H1
D
D0
C
h
L3
B1
H2
L1
L2
b
R
n
d1
kg
100
890
1000
990
790
240
159
380
250
400
825
760
750
460
30
320
40
22
680
125
1058
1155
1180
945
310
219
450
315
440
960
910
920
520
30
40
4
34
800
DPL单筒网片滤油器
公称通径mm
外形尺寸mm
滤芯拆卸高度mm
管路连接尺寸mm
管路安装尺寸
基座安装尺寸mm
净重
DN
H
B
L
H1
D
D0
C
h
L3
B1
H2
L1
L2
b
R
n
d1
kg
25
315
130
135
270
管接头M39x2
310
34
60
70
264
139
100
90
12
15
4
16
6
40
440
143
173
360
66x66
14
36
70
80
364
177
130
125
14
20
4
18
12
65
580
195
285
535
100x100
70
79
105
105
517
261
165
150
18
25
4
22
25
80
700
238
320
685
185
89
99
120
128
630
310
170
170
180
25
4
22
30
DPL100~DPL200
公称通径mm
外形尺寸mm
滤芯拆卸高度mm
管路连接尺寸mm
管路安装尺寸
基座安装尺寸mm
净重
DN
H
B
L
H1
D
D0
C
h
L3
B1
H2
L1
L2
b
R
n
d1
kg
100
800
412
528
790
190
108
140
42
290
360
364
150
734
335
18
3
18
115
150
940
550
660
790
240
159
135
57
380
380
335
180
870
470
20
3
24
160
200
1050
612
750
945
310
219
135
57
438
400
368
180
980
550
20
3
24
210
法兰标准:GB573-65(可根据需要确定):DN100、150-3 组滤芯组件 DN200-4 组滤芯组件;压差发讯器为选配件。
序号NO
公称网目数(参数)(目/英寸)
网孔基本尺寸mm
过滤精度(参考)UM
金属丝直径
单位面积网重kg/m2
筛分面积百分率%
相当英制目数(目/英寸)
1
10
2.00
2000
0.400
0.933
0.949
0.841
69
10.58
2
20
1.00
1000
0.250
0.71
0.712
0.631
64
20.32
3
40
0.450
450
0.180
0.720
0.732
0.649
51
40.32
4
60
0.280
280
0.140
0.653
0.655
0.589
44
60.48
5
80
0.200
200
0.112
0.562
0.572
0.507
41
81.41
6
118
0.125
114
0.090
0.527
0.536
0.475
34
118.41
7
158
0.090
78
0.071
0.438
0.446
0.395
31
157.76
8
200
0.071
46
0.056
0.346
0.352
0.312
31
200
9
264
0.056
38
0.040
0.237
0.210
34
264.6
10
300
0.050
34
0.032
0.178
0.158
37
309.8
11
363
00.040
30
0.030
0.183
0.162
32
363
 
 
 
 
 
网站首页 公司简介 产品展示 产品目录 企业动态 联系方式
电话:0513-83325673 传真:0513-83119878  手机:13862978163         智能润滑
地址:江苏省启东市汇龙镇中央河中路691号 邮编:226200  E-mail:13862978163@126.com 
版权所有:南通沃尔驰石化工程有限公司